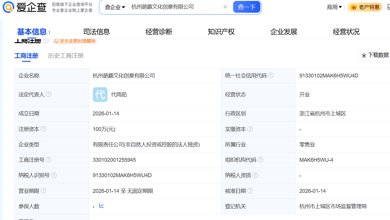
首页 > TMT 泡泡玛特在杭州新设文化创意公司 发布时间: 2026-01-15 10:43:37 阅 154 近日,杭州葩趣文化创意有限公司成立,法定代表人为代雨茹,经营范围含互联网销售、个人商务服务、电子产品销售、机械设备租赁等。股权信息显示,该公司由北京泡泡玛特文化创意有限公司间接全资持股。